【AC/DC微电网的能源管理策略】微电网仿真模型包括光伏发电机、燃料电池系统、超级电容器和直流侧的电池,包括电压源变换器(VSC),用于将微电网的直流侧与交流侧相连接Simulink仿真实现

简介: 【AC/DC微电网的能源管理策略】微电网仿真模型包括光伏发电机、燃料电池系统、超级电容器和直流侧的电池,包括电压源变换器(VSC),用于将微电网的直流侧与交流侧相连接Simulink仿真实现

💥💥💞💞欢迎来到本博客❤️❤️💥💥

🏆博主优势:🌞🌞🌞博客内容尽量做到思维缜密,逻辑清晰,为了方便读者。

⛳️座右铭:行百里者,半于九十。

⛳️赠与读者

👨‍💻做科研,涉及到一个深在的思想系统,需要科研者逻辑缜密,踏实认真,但是不能只是努力,很多时候借力比努力更重要,然后还要有仰望星空的创新点和启发点。当哲学课上老师问你什么是科学,什么是电的时候,不要觉得这些问题搞笑。哲学是科学之母,哲学就是追究终极问题,寻找那些不言自明只有小孩子会问的但是你却回答不出来的问题。建议读者按目录次序逐一浏览,免得骤然跌入幽暗的迷宫找不到来时的路,它不足为你揭示全部问题的答案,但若能让人胸中升起一朵朵疑云,也未尝不会酿成晚霞斑斓的别一番景致,万一它居然给你带来了一场精神世界的苦雨,那就借机洗刷一下原来存放在那儿的“躺平”上的尘埃吧。

    或许,雨过云收,神驰的天地更清朗.......🔎🔎🔎

💥1 概述

文章重点:AC/DC微电网能源管理的模块化仿真测试平台

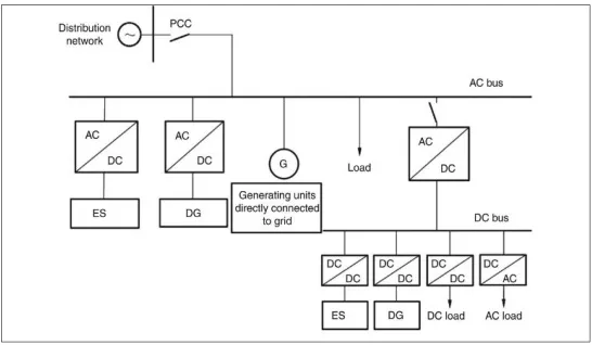
本文介绍了一个用于模拟AC/DC微电网的模块化测试平台。该测试平台在Matlab Simulink中实施,并基于能量宏观表示(EMR)形式主义。它旨在成为评估AC/DC微电网能源管理策略的工具。微电网仿真模型包括光伏发电机、燃料电池系统、超级电容器和直流侧的电池。它包括电压源变换器(VSC),用于将微电网的直流侧与交流侧相连接,后者包括可变交流负载和同步发电机。两个案例研究说明了该测试平台的使用。利用这个模型,研究人员可以开发和评估AC/DC微电网的能源管理策略。

关键词:微电网;燃料电池;光伏能源;超级电容器;电压源变换器;滞控制;能源管理;能量宏观表示;Matlab Simulink

介绍

电力系统正逐渐从几乎完全基于交流的发电、输电和配电系统发展为混合配置,其中直流的重要性日益增加。在未来几十年内,直流系统甚至可能主导交流系统,并且许多理由表明这样的电力系统可以成为现实。电压源变换器(VSC)的快速发展促进了直流源、输电线路和负载在交流系统中的互联。理论上,直流电力系统比交流系统更易操作,因为同步、相角和无功功率不再构成挑战。

大多数电动驱动器采用交流操作,因为与直流相比,其简单性和成本更低。大型电厂利用燃烧、蒸汽或水力涡轮耦合同步发电机产生大量能量。另一方面,大量可再生能源是通过分布式和间歇性直流发电机产生的,这些发电机连接到网络上的小型电厂,位于消费者附近。电池或基于氢的(电解器和燃料电池)系统中进行的存储是以直流进行的。许多最近的项目使用高压直流(HVDC)输送能源,以便通过非常长的距离或连接海上风电场。大多数住宅负载,如照明或电器,因其较交流而言的效率更高而采用直流。新的孤立电力系统可能更倾向于使用直流而不是交流,但目前,电力系统正朝着具有高比例可再生能源的混合交流/直流电力系统发展。

微电网的设计和运行需要灵活的仿真模型。这些模型应允许同时考虑交流/直流的发电和消耗。它们还应允许用户设计和评估能源管理和控制算法的影响。

运行混合电力系统的主要挑战之一是为每个电源定义功率参考,同时尊重限制,并同时最小化能源消耗或电源退化等多目标函数。Matlab Simulink是研究混合系统能源管理最常用的软件之一。以下参考文献介绍了一些最近在直流微电网中使用该软件的开发项目。

[8] 中讨论了一个包括光伏发电、电池和电解器的孤立直流微电网的最佳能源管理策略。[9] 中介绍了一种用于整合光伏电池板和电池的直流微电网中的分布式变流器的建模和控制策略。[10] 中介绍了一种使用多堆聚合物电解质膜(PEM)电解器(EL)耦合风力涡轮发电机的分布式系统来产生氢气。[11] 中考虑了电池储能系统(BESS)对直流微电网中光伏-BESS稳定性的影响。[12] 中研究了由柴油发电机、风力涡轮和飞轮系统组成的交流孤立微电网的能源管理。

[13] 中使用Matlab Simulink模拟了与陆上电网连接的海上风电场的高压直流连接。[14] 中讨论了在交流微电网中与分布式发电机共享无功功率。[15] 中提出了一种用于添加可再生能源时抑制电压波动的有功和无功功率分配策略。[16] 中介绍了用于控制交流/直流变流器以抵抗干扰的滑模控制器设计。

本文侧重于开发一个可自由下载和分发的仿真测试平台。我们还找到了一些针对微电网和混合电动车的开放获取、可直接使用的完整仿真测试平台。[17,18,19] 中介绍的研究提出了一个微电网仿真模型,重点研究功率变换器的研究。这是一个分析微电网小信号稳定性的优秀工具,基于Matlab LAT工具箱。[18,19] 中介绍了用于研究复杂电力网络中电力市场的仿真模型。

一些参考文献提供了混合电动车(HEV)的完整仿真模型。[22] 中介绍了应用于HEV的燃料电池与电池的完整模型。[21,20] 中介绍了燃料电池超级电容器-电池(FC-UC-battery)混合机车和HEV的仿真测试平台。这些模型是在Matlab Simulink中开发的,并可自由下载。它们使研究人员能够评估和比较不同的能源管理策略。

许多论文已经使用这些开放获取软件获得了成果。[23] 中介绍了一种模糊逻辑控制器,用于执行燃料电池-电池混合机车的能源管理。[24] 中提出了一种基于规则的策略,用于定义混合机车的控制参考。[25] 中介绍了一种粒子群优化算法,用于解决微电网运行的多目标随机控制模型。[26] 中提出了考虑市场需求的智能电网优化。这些最近的研究活动证明了开发和公开提供仿真测试平台的兴趣,使科学界能够在相同条件下评估和比较结果。

image.gif 编辑

一、AC/DC微电网系统结构与组件功能

1. 拓扑架构

  • 双母线结构:交流(AC)母线通过公共耦合点(PCC)连接外部电网,直流(DC)母线集成光伏、燃料电池、超级电容和电池储能。AC/DC部分通过VSC互联,实现功率双向流动。

    image.gif 编辑
  • 关键组件
  • 光伏发电机:直接接入DC母线,提供可再生能源输入。
  • 燃料电池:通过DC/DC变换器接入DC母线,作为稳定功率源。
  • 超级电容器:并联于DC母线,响应高频功率波动。
  • 电池储能:通过双向DC/DC变换器连接,提供中长期能量支撑。
  • VSC:连接AC/DC母线,实现交直流功率转换与并网/孤岛模式切换。

    image.gif 编辑

2. 运行模式

  • 并网模式:VSC调节功率交换,维持母线电压稳定,吸收谐波电流。
  • 孤岛模式:当电网故障时,VSC断开连接,微电网自主运行。超级电容和电池协同维持电压/频率稳定,燃料电池作为主电源。

二、组件建模方法与控制策略

1. 光伏发电机建模

  • 单二极管等效电路模型:基于光生电流、二极管特性、串联电阻(RsRs)和并联电阻(RpRp)构建非线性I-V方程,通过开路电压、最大功率点、短路电流三点拟合参数。
  • Simulink实现
  • 使用"PV Array"模块配置参数,结合MPPT算法(如P&O)提取最大功率。
  • 通过"Meas_PV"模块监测输出,生成C代码用于硬件在环(HIL)验证。 image.gif 编辑
  • 通信安全模型:采用IEC 61850标准,将光伏系统抽象为逻辑节点(LN),如合并单元(MU)和保护控制(P&C)。

2. 燃料电池系统控制

  • 运行模式
  • 功率跟随模式:优化燃料电池工作点,使其始终处于高效区间(效率>40%)。蓄电池平衡负载需求,实现四种驱动模式:
  • 蓄电池单独驱动
  • 燃料电池单独驱动
  • 燃料电池驱动并充电
  • 混合驱动。
  • 低温启动策略:环境温度≤阈值时启动加热器;温度正常后通入氢/空气,电压稳定后按负载需求拉载。 image.gif 编辑
  • 保护机制:空压机喘振保护、单体电压监控、远程故障诊断。

3. 超级电容器能量管理

  • 电压阈值控制
  • 放电:当DC母线电压 Vdc<V1(如0.95 p.u.),释放能量支撑负载。
  • 充电:当 Vdc>V4(如1.05 p.u.),吸收再生制动能量。
  • 缓冲能力设计:针对49.5MW风电场,配置1.65kWh超级电容可有效抑制暂态功率冲击。
  • 船舶中压系统应用:采用双有源桥(DAB)变换器,通过移相角控制能量流向,IPOS结构提升功率等级。

4. 直流侧电池充放电逻辑

  • 双闭环控制
  • 电压外环:比较 Uref 与实际 Udc,PI输出作为电流参考 Iref。
  • 电流内环:调节 IbatteryIbattery 生成PWM驱动IGBT。
  • SOC分区策略
SOC范围 负载需求 电池状态
SOC > 60% Pbattery<Pload 放电
10% < SOC < 60% - 空闲
SOC < 10% Pbattery>Pload 充电 
  • 多支路接入:按电压排序(充电从低到高,放电从高到低),逐步闭合接触器避免电流冲击。

    image.gif 编辑

5. VSC数学模型与交直流转换

  • image.gif 编辑
  • 控制策略
  • 并网模式:通过PLL同步相位,调节有功/无功功率。
  • 孤岛模式:采用下垂控制,模拟同步发电机惯性。

三、Simulink仿真实现流程

1. 模型集成步骤

image.gif 编辑

  • 解耦仿真:电力电子变换器(如DC/DC)在FPGA上运行亚微秒级仿真,其他组件在CPU处理。
  • 中央控制器:协调各单元功率分配,实现四种模式切换(并网/孤岛/充电/放电)。

    image.gif 编辑

2. 关键仿真模块

  • 光伏:使用"PV Array"库,配置二极管参数和温度系数。
  • 燃料电池:Stateflow实现状态机(初始化、就绪、运行、故障)。
  • 超级电容:自定义逻辑模块,设定电压阈值 V1V1-V4V4 触发充放电。
  • VSC:采用"Average Model"简化开关过程,嵌入功率方程。

3. 验证与优化

  • 稳定性验证:注入阶跃负载扰动,检查直流母线电压波动(目标<±5%)。
  • 经济性优化:结合电池循环寿命、燃料电池效率曲线,最小化总成本(能源成本+碳排放成本)。
  • 硬件在环:通过RT-LAB平台实现eHS算法,验证亚微秒级响应。

四、研究趋势与挑战

  1. 去中心化控制:无需AC/DC通信的虚拟惯性仿真,提升频率稳定性。
  2. 多目标优化:考虑碳排放约束的容量配置(如光伏/储能比例)。
  3. 故障保护:直流微电网短路电流快速限流策略(如固态断路器)。
  4. 实验平台:基于dSPACE的实时控制器,支持教学与算法验证。

结论

AC/DC微电网仿真需深度融合组件物理模型与运行策略:

  • 光伏侧重I-V特性拟合与MPPT;
  • 燃料电池需状态机控制与效率优化;
  • 储能系统按时间尺度分工(超级电容应对秒级波动,电池支撑分钟级需求);
  • VSC是实现模式切换的核心。
    Simulink实现时需注意模型解耦(CPU/FPGA协同)和硬件在环验证,未来研究将向去中心化控制与低碳经济延伸。

📚2 运行结果

image.gif 编辑

image.gif 编辑

image.gif 编辑

image.gif 编辑

image.gif 编辑

仿真运行结果:

image.gif 编辑

image.gif 编辑

image.gif 编辑

image.gif 编辑

image.gif 编辑

运行视频:

链接:https://pan.baidu.com/s/1AoGxsKuUmDBVbqUx2tYJbQ

提取码:qa9w

--来自百度网盘超级会员V5的分享

部分代码:

plot(tiempo,Pvsc1,tiempo,Pvsc2,tiempo,PloadAC,'linewidth',1.5)

legend('Pvsc1','Pvsc2','PloadAC','location','best')

xlim([0 simul.Time]);grid on;box on

xlabel('[s]'),ylabel('Active power [p.u.]');

figure

plot(tiempo,Qvsc1,tiempo,Qvsc2,tiempo,QloadAC,'linewidth',1.5)

legend('Qvsc1','Qvsc2','QloadAC')

xlim([0 simul.Time]);grid on;box on

xlabel('[s]'),ylabel('reactive power [p.u.]');

figure

plot(tiempo,Vpcc_mag,'linewidth',1.5)

xlim([0 simul.Time]);

xlabel('[s]'),ylabel('voltage [p.u.]');grid on;box on

figure

plot(tiempo,Vpcc_omega/2/pi,'linewidth',1.5)

xlim([0 simul.Time]);

xlabel('[s]'),ylabel('[Hz]');grid on;box on

% Last modified by DJ.A - 29th July 2020

🎉3 参考文献

文章中一些内容引自网络,会注明出处或引用为参考文献,难免有资料获取,更多粉丝福利,MATLAB|Simulink|Python资源获取【请看主页然后私信】

相关文章
|
3月前
|
机器学习/深度学习 新能源 C++
【三相AC-DC-AC PWM变换器】基于三相PWM VSC的电源供应SimPowerSystems模型研究(Simulink仿真实现)
【三相AC-DC-AC PWM变换器】基于三相PWM VSC的电源供应SimPowerSystems模型研究(Simulink仿真实现)
149 6
|
3月前
|
传感器 人工智能 算法
基于模型预测控制MPC的光伏供电的DC-AC变换器设计研究(Simulink仿真实现)
基于模型预测控制MPC的光伏供电的DC-AC变换器设计研究(Simulink仿真实现)
133 1
|
3月前
|
传感器 人工智能 算法
基于模型预测控制MPC的光伏供电的DC-AC变换器设计研究(Simulink仿真实现)
基于模型预测控制MPC的光伏供电的DC-AC变换器设计研究(Simulink仿真实现)
150 0
BOSHIDA DC/AC电源模块的节能特点与环保优势
BOSHIDA DC/AC电源模块的节能特点与环保优势
BOSHIDA DC/AC电源模块的节能特点与环保优势
DC/AC电源模块为现代电子设备提供稳定的能源
DC/AC电源模块为现代电子设备提供稳定的能源
 DC/AC电源模块为现代电子设备提供稳定的能源
DC/AC电源模块:让电力转换变得更简单
DC/AC电源模块:让电力转换变得更简单
DC/AC电源模块:让电力转换变得更简单
DC/AC电源模块能够提供高效率和可靠性的能源转换
DC/AC电源模块能够提供高效率和可靠性的能源转换
DC/AC电源模块能够提供高效率和可靠性的能源转换
BOSHIDA 使用DC/AC电源模块时需要注意的事项
BOSHIDA 使用DC/AC电源模块时需要注意的事项
207 14
BOSHIDA  使用DC/AC电源模块时需要注意的事项
|
芯片 网络架构
开关电源DC-DC电源应用
DC-DC指直流转直流电源(Direct Current)。是一种在直流电路中将一个电压值的电能变为另一个电压值的电能的装置。如,通过一个转换器能将一个直流电压(5.0V)转换成其他的直流电压(1.5V或12.0V),我们称这个转换器为DC-DC转换器,或称之为开关电源或开关调整器。 DC-DC转换器一般由控制芯片,电感线圈,二极管,三极管,电容器构成。在讨论DC-DC转换器的性能时,如果单针对控制芯片,是不能判断其优劣的。其外围电路的元器件特性,和基板的布线方式等,能改变电源电路的性能,因此,应进行综合判断。 DC-DC转换器的使用有利于简化电源电路设计,缩短研制周期,实现最佳指标等,被
276 5
DC/AC电源模块在工业科技中重要的作用
DC/AC电源模块在工业科技中发挥着重要的作用
DC/AC电源模块在工业科技中重要的作用