自我介绍
我是大三的一名计算机学生,通过阿里的宣传活动了解到了学生免费试用ECS的活动,经过两周的学习与实践,我有很多收获。
阿里云使用攻略
获得阿里云服务器实例,其中有几个关键的属性。cpu核数:2 代表了你的云服务的处理能力。内存2G表示你运行阿里云服务可以使用的内存。云盘容量40GB,代表了你云服务器可以存储的空间大小。公网ip是你连接服务器,服务器对外开放使用的ip地址。
我觉得比较好用的功能有监控功能,可以方便的进行服务器的实时监控,获取服务器的cpu使用率、内存使用率、系统负载、实例云盘读写BPS、实例云盘IOPS、云盘使用率等。
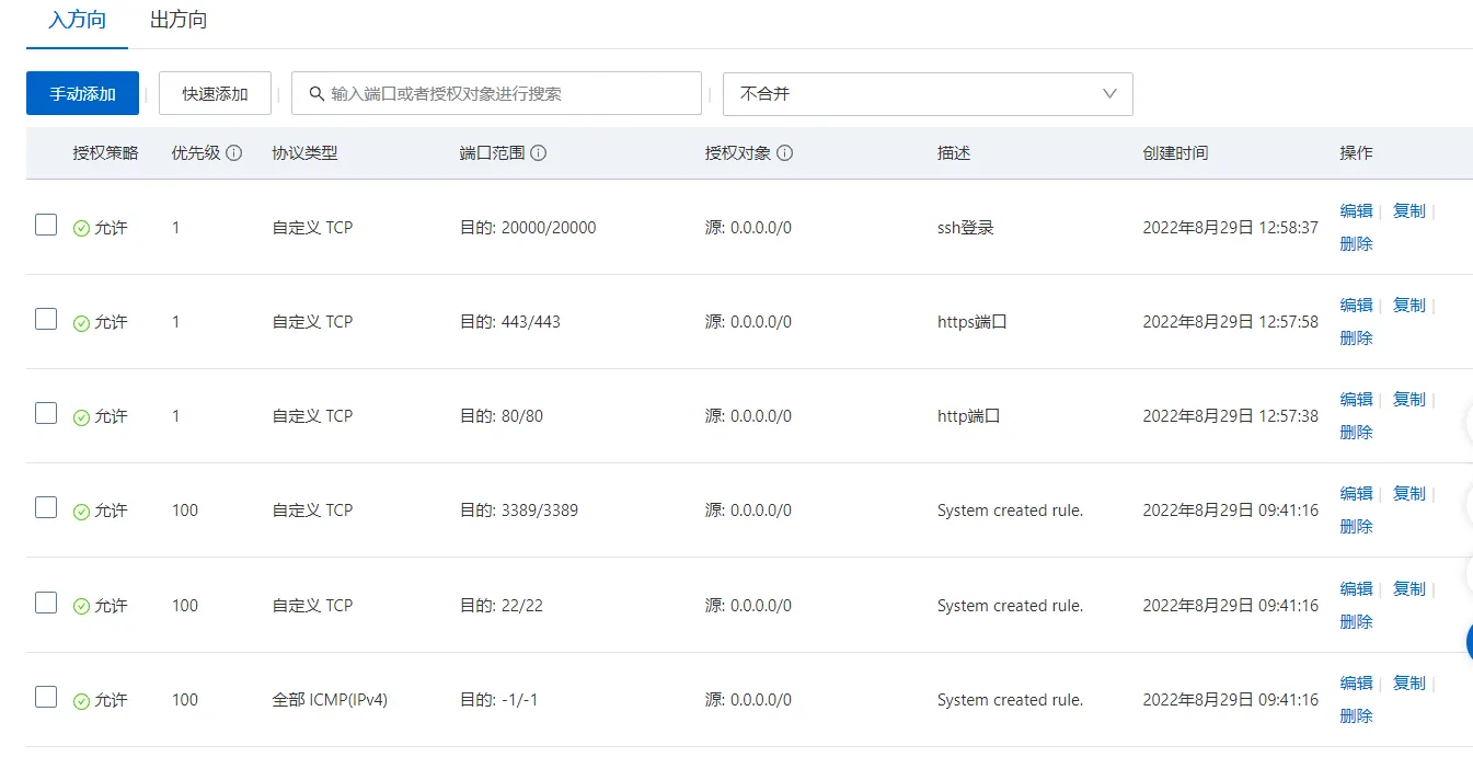
阿里云服务器一个很重要的功能是安全组,用于设置服务器对外开放的端口。这里我对外开放了22端口,是服务器的连接端口,443端口,开放服务器的https端口,80端口,开放服务器的http端口,20000端口用于服务器docker容器的连接登录。
远程登录阿里云
阿里云提供了远程登录阿里云服务器的工具,我喜欢使用gitbash和ssh工具进行阿里云的远程登录
ssh root@公网ip
然后输入密码就可以成功登录了。
我们最好不要直接在根目录下进行阿里云服务器的操作,建议创建一个用户进行一系列的工作。
adduser user1 # 创建用户usermod -aGsudo user1 # 给用户分配sudo权限
进行免密登录需要四步
- 客户端生成公私钥
ssh-keygen
- 配置服务器别名
vim .ssh/config
Host 别名
HostName 公网ip
User 用户名
2.上传公钥到服务器
ssh-cpoy-id 别名
3.测试免密登录
ssh 别名
这样就可以登录成功了
上传文件到云服务器
使用scp可以进行文件的上传
scp 文件 别名:
下载tmux
sudo apt-get update sudo apt-get install tmux
tmux 是一个可以让人们通过一个窗口操作多个会话的工具,对于经常操作 Linux 系统的同学来说,绝对是一款提升工作效率的利器。
启动tmux
tmux
监控云服务
top
阿里云教程
阿里云包含了一些教程,可以快速帮助你入门.
快速搭建网站:本教程适用企业、个人,基于开源的PbootCMS,快速搭建拥有丰富功能的网站。
部署开发环境:通过简单几步,图中7种主流开发环境轻松部署,摆脱海量文档搜索之苦。
搭建云上博客:快速搭建基于WordPress的云上博客,WordPress强大的管理后台,还可扩展支撑小型门户网站。
使用阿里云的收获
使用ECS建站操作简单,阿里云、B站里都有教学视频,各大论坛也有详细的教程,ECS的控制台也是非常的简洁易操作。作为一名大学生,我认为阿里云的“飞天加速计划——高校学生在家实践”是非常好的体验,对刚接触服务器的小白来说是非常好的学习工具。大学生的兴趣无限、但资金有限,阿里云为我们学习服务器相关知识敞开了大门、提供了上手操作的平台,体现了一家大公司的社会责任感。
我是用阿里云搭建了自己的网站前端和后端服务。通过阿里云服务器功能齐全,网洛通畅,我有很好的体验。阿里云在功能和价格上性价比极高,如果你也想要部署一个可以上线的网站,阿里云是非常好的选择。

