南京观海微电子----DAC/ADC原理

简介: DAC将数字量按权值转换为模拟量,核心由锁存器、电子开关、基准源、权电阻网络和求和电路组成。常见结构有倒T型电阻网络和权电流转换器。ADC则通过取样、保持、量化、编码将模拟信号转为数字量,主要类型包括逐次逼近型、积分型和并行比较型,关键指标有分辨率、转换速率和基准源精度。

DAC基本原理

DAC将输入的数字量按权的大小,通过电阻网络转化为模拟量,再通过加法电路,转换为与数字量成比例的模拟量。

实际上就是二进制转换为十进制的过程。

基本组成包括锁存器、电子开关、基准源、权电阻网络和求和电路。

锁存器:保存输入的数字量。

电子开关:被数字量控制开关,用来决定是否将某一路数字量转换为有效模拟量输出。

基准源:给模拟量提供参考电压。

权电阻网络:提供每一路数字量的比例。

求和电路:将每路数字量转化的模拟量按权相加

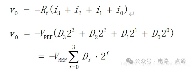
输入输出的关系如下:

基准源和权电阻网络是关键。

基准源越大,可输出的模拟量的范围当然也就会越大。

DAC分类

按解码结构分,有倒T型电阻网络,T型电阻网络,权电流转换器。

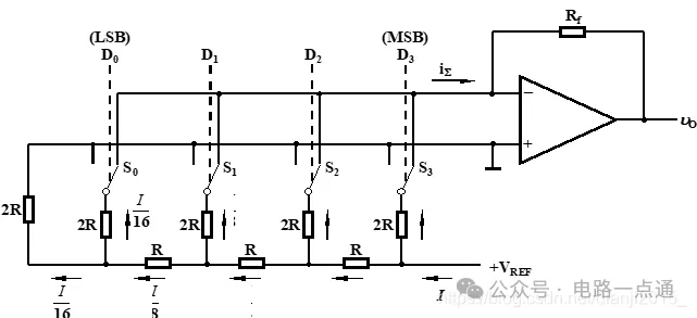
倒T型电阻网络

原理如下:

当开关为1,即数字量为1时,接到运放反相端,表示电流输出有效;当为0时接到同相端地。无论哪种情况,电阻网络都接到地上。

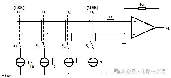
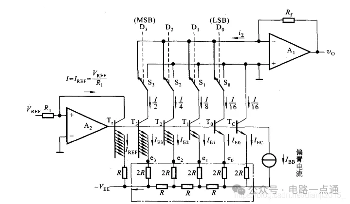
权电流转换器

考虑到模拟开关的导通压降,导通电阻的误差和功耗,用恒流源代替权电阻转换电路得到权电流转换器。

在实际应用中,用负反馈运放组成基准电流源,用三极管组成权电流源。输出只与反馈电阻和基准电压源电阻有关,与内部电阻和三极管无关。

DAC的性能指标

分辨率

分辨率是模拟输出电压可被分离的等级数,n位DA分辨率一般为1/2^n。位数越高,分辨率越高。

转换速度

用来描述数字量变化引起模拟量变换的转换时间。

用来衡量此指标的参数有,建立时间和转换速率。

1)建立时间

指数字量变化,输出电压在规定误差范围内所需要的时间。

2)转换速率

指大信号工作状态下,模拟输出电压的最大变化率。

ADC基本原理

ADC就是起到把连续的信号用离散的数字表达出来的作用。

A/D转换一般步骤:取样、保持、量化、编码

逐次逼近式ADC,数字量由“逐次逼近寄存器SAR”产生。

SAR使用“对分搜索法”产生数字量。

以8位数字量为例,SAR首先产生8位数字量的一半,即10000000B,试探模拟量Vin的大小,若Vn>Vi,清除最高位bit7,若Vn<Vin,保留最高位。

在最高位确定后,SAR又以对分搜索法确定次高位bit6,即以低7位的一半y1000000B(y为已确定位) 试探模拟量Vin的大小。

在bit6确定后,SAR以对分搜索法确定bit5位,即以低6位的一半yy100000B(y为已确定位) 试探模拟量的大小。

重复这一过程,直到最低位bit0被确定,转换结束。

ADC分类

AD的种类很多,分为积分型,逐次逼近型,并行/串行比较型,Σ-Δ型等多种类型。

ADC的转换速率是能够重复进行数据转换的速度,即每秒转换的次数。

而完成一次A/D转换所需的时间(包括稳定时间),则是转换速率的倒数。

A/D转换器的转速速度主要取决于转换电路的类型,不同类型的A/D转换器的转换速度相差很大。

积分式A/D转换器的转换速度最慢,需几百毫秒左右;

逐次逼近式A/D转换器的转换速度最快,需十几微秒;

并行比较型A/D转换器的转换速度最快,仅需几十纳秒。

1)积分型A/D转换器

将输入电压转换成时间(脉冲宽度信号)或频率(脉冲频率),然后由定时器/计数器获得数字值。其优点是用简单电路就能获得高分辨率,但缺点是由于转换精度依赖于积分时间,因此转换速率极低。初期的单片AD转换器大多采用积分型,现在逐次比较型已逐步成为主流

2)逐次逼近型A/D

逐次逼近转换过程和用天平称物重非常相似。天平称重物过程是从最重的砝码开始试放,与被称物体进行比较,若物体重于砝码,则该砝码保留,否则移去。在加上第二个次重砝码,由物体的重量是否大于砝码的重量决定第二个砝码是否留下还是移去。以此类推,一直加到最小一个砝码为止。然后将所有留下的砝码重量相加,就得此物体的重量,按照这一思路,逐次比较型A/D转换器。,就是将输入模拟量与不同的参考电压作多次比较。使转换所得的数字量在数值上逐次逼近输入模拟量对应值。

3)并行/串行型ADC

ADC的性能指标

ADC的位数

一个n位的ADC表示这个ADC共有2的n次方个刻度。

8位ADC,输出的是从0-255的256个数字,也就是2的8次方的一个数据刻度。与分辨率息息相关。

分辨率

分辨率是数字量变化的一个最小刻度时,模拟信号的变化量,定义为满刻度量程与**(2的n次方-1)**的比值。假定5.10V的电压系统,使用8位的ADC进行测量,那么相当于0-255,一共256个刻度。把5.10V划分成255份,那么分辨率就是5.10/255=0.02V。

基准源

基准源也叫基准电压,是ADC的1个重要标准,要想把输入ADC的信号测量准确,那么基准源首先要准,基准源的偏差会导致转换结果的偏差比如一根米尺,总长度本应该是1米,假定这根米尺被火烤了一下,实际变成了1.2米,再用这根米尺测物体长度的话自然就有了较大的偏差。假如我们的基准源应该是5.10V,但是实际上提供的却是4.5V,这样误把4.5V当成了5.10V来处理的话,偏差也会比较大。

转换速率

转换速率,是指ADC每秒能进行采样转换的最大次数,单位是sps(或s/s、sa/s,即samples per second),它与ADC完成一次从模拟到数字的转换所需要的时间互为倒数关系。

ADC的种类比较多

积分型的ADC转换时间是毫秒级的,属于低速ADC;

逐次逼近型ADC转换时间是微妙级的,属于中速ADC;

并行/串行的ADC的转换时间可达到纳秒级,属于高速ADC。

量化误差

相关文章
|
8天前
|
云安全 监控 安全
|
13天前
|
机器学习/深度学习 人工智能 自然语言处理
Z-Image:冲击体验上限的下一代图像生成模型
通义实验室推出全新文生图模型Z-Image,以6B参数实现“快、稳、轻、准”突破。Turbo版本仅需8步亚秒级生成,支持16GB显存设备,中英双语理解与文字渲染尤为出色,真实感和美学表现媲美国际顶尖模型,被誉为“最值得关注的开源生图模型之一”。
1439 8
|
7天前
|
人工智能 安全 前端开发
AgentScope Java v1.0 发布,让 Java 开发者轻松构建企业级 Agentic 应用
AgentScope 重磅发布 Java 版本,拥抱企业开发主流技术栈。
475 11
|
19天前
|
人工智能 Java API
Java 正式进入 Agentic AI 时代:Spring AI Alibaba 1.1 发布背后的技术演进
Spring AI Alibaba 1.1 正式发布,提供极简方式构建企业级AI智能体。基于ReactAgent核心,支持多智能体协作、上下文工程与生产级管控,助力开发者快速打造可靠、可扩展的智能应用。
1256 43
|
19天前
|
人工智能 前端开发 算法
大厂CIO独家分享:AI如何重塑开发者未来十年
在 AI 时代,若你还在紧盯代码量、执着于全栈工程师的招聘,或者仅凭技术贡献率来评判价值,执着于业务提效的比例而忽略产研价值,你很可能已经被所谓的“常识”困住了脚步。
1162 88
大厂CIO独家分享:AI如何重塑开发者未来十年
|
1天前
|
存储 弹性计算 容灾
阿里云服务器ECS自定义购买流程:超详细新手入门教程
本文详细介绍阿里云服务器ECS自定义购买全流程,涵盖付费模式、地域选择、网络配置、实例规格、镜像系统、存储、公网IP、带宽计费及安全组设置等关键步骤,适合新手入门参考,助你轻松完成云服务器选购与部署。
194 121