虽然平时大部分工作都是和Java相关的开发, 但是每天都会接触Linux系统, 尤其是使用了Mac之后, 每天都是工作在黑色背景的命令行环境中. 自己记忆力不好, 很多有用的Linux命令不能很好的记忆, 现在逐渐总结一下, 以便后续查看.
基本操作
Linux关机,重启
# 关机 shutdown -h now # 重启 shutdown -r now
查看系统,CPU信息
# 查看系统内核信息 uname -a # 查看系统内核版本 cat /proc/version # 查看当前用户环境变量 env cat /proc/cpuinfo # 查看有几个逻辑cpu, 包括cpu型号 cat /proc/cpuinfo | grep name | cut -f2 -d: | uniq -c # 查看有几颗cpu,每颗分别是几核 cat /proc/cpuinfo | grep physical | uniq -c # 查看当前CPU运行在32bit还是64bit模式下, 如果是运行在32bit下也不代表CPU不支持64bit getconf LONG_BIT # 结果大于0, 说明支持64bit计算. lm指long mode, 支持lm则是64bit cat /proc/cpuinfo | grep flags | grep ' lm ' | wc -l
建立软连接
ln -s /usr/local/jdk1.8/ jdk
rpm相关
# 查看是否通过rpm安装了该软件 rpm -qa | grep 软件名
sshkey
# 创建sshkey ssh-keygen -t rsa -C your_email@example.com #id_rsa.pub 的内容拷贝到要控制的服务器的 home/username/.ssh/authorized_keys 中,如果没有则新建(.ssh权限为700, authorized_keys权限为600)
命令重命名
# 在各个用户的.bash_profile中添加重命名配置 alias ll='ls -alF'
同步服务器时间
sudo ntpdate -u ntp.api.bz
后台运行命令
# 后台运行,并且有nohup.out输出 nohup xxx & # 后台运行, 不输出任何日志 nohup xxx > /dev/null & # 后台运行, 并将错误信息做标准输出到日志中 nohup xxx >out.log 2>&1 &
强制活动用户退出
# 命令来完成强制活动用户退出.其中TTY表示终端名称 pkill -kill -t [TTY]
查看命令路径
which <命令>
查看进程所有打开最大fd数
ulimit -n
配置dns
vim /etc/resolv.conf nslookup,查看域名路由表 nslookup google.com last, 最近登录信息列表 # 最近登录的5个账号 last -n 5
设置固定ip
查看进程内加载的环境变量
# 也可以去 cd /proc 目录下, 查看进程内存中加载的东西 ps eww -p XXXXX(进程号)
查看进程树找到服务器进程
ps auwxf
查看进程启动路径
cd /proc/xxx(进程号) ls -all # cwd对应的是启动路径
添加用户, 配置sudo权限
# 新增用户 useradd 用户名 passwd 用户名 #增加sudo权限 vim /etc/sudoers # 修改文件里面的 # root ALL=(ALL) ALL # 用户名 ALL=(ALL) ALL
强制关闭进程名包含xxx的所有进程
ps aux|grep xxx | grep -v grep | awk '{print $2}' | xargs kill -9
磁盘,文件,目录相关操作
vim操作
#normal模式下 g表示全局, x表示查找的内容, y表示替换后的内容 :%s/x/y/g #normal模式下 0 # 光标移到行首(数字0) $ # 光标移至行尾 shift + g # 跳到文件最后 gg # 跳到文件头 # 显示行号 :set nu # 去除行号 :set nonu # 检索 /xxx(检索内容) # 从头检索, 按n查找下一个 ?xxx(检索内容) # 从尾部检索
打开只读文件,修改后需要保存时(不用切换用户即可保存的方式)
# 在normal模式下 :w !sudo tee %
查看磁盘, 文件目录基本信息
# 查看磁盘挂载情况 mount # 查看磁盘分区信息 df # 查看目录及子目录大小 du -H -h # 查看当前目录下各个文件, 文件夹占了多少空间, 不会递归 du -sh *
wc命令
# 查看文件里有多少行 wc -l filename # 看文件里有多少个word wc -w filename # 文件里最长的那一行是多少个字 wc -L filename # 统计字节数 wc -c
常用压缩, 解压缩命令
压缩命令
tar czvf xxx.tar 压缩目录 zip -r xxx.zip 压缩目录
解压缩命令
tar zxvf xxx.tar # 解压到指定文件夹 tar zxvf xxx.tar -C /xxx/yyy/ unzip xxx.zip
变更文件所属用户, 用户组
chown eagleye.eagleye xxx.log cp, scp, mkdir #复制 cp xxx.log # 复制并强制覆盖同名文件 cp -f xxx.log # 复制文件夹 cp -r xxx(源文件夹) yyy(目标文件夹) # 远程复制 scp -P ssh端口 username@10.10.10.101:/home/username/xxx /home/xxx # 级联创建目录 mkdir -p /xxx/yyy/zzz # 批量创建文件夹, 会在test,main下都创建java, resources文件夹 mkdir -p src/{test,main}/{java,resources}
比较两个文件
diff -u 1.txt 2.txt
日志输出的字节数,可以用作性能测试
# 如果做性能测试, 可以每执行一次, 往日志里面输出 “.” , 这样日志中的字节数就是实际的性能测试运行的次数, 还可以看见实时速率. tail -f xxx.log | pv -bt 1 查看, 去除特殊字符 # 查看特殊字符 cat -v xxx.sh # 去除特殊字符 sed -i 's/^M//g’ env.sh 去除文件的特殊字符, 比如^M: 需要这样输入: ctrl+v+enter
另外,Linux 系列面试题和答案全部整理好了,微信搜索Java技术栈,在后台发送:面试,可以在线阅读。
处理因系统原因引起的文件中特殊字符的问题
# 可以转换为该系统下的文件格式 cat file.sh > file.sh_bak # 先将file.sh中文件内容复制下来然后运行, 然后粘贴内容, 最后ctrl + d 保存退出 cat > file1.sh # 在vim中通过如下设置文件编码和文件格式 :set fileencodings=utf-8 ,然后 w (存盘)一下即可转化为 utf8 格式, :set fileformat=unix # 在mac下使用dos2unix进行文件格式化 find . -name "*.sh" | xargs dos2unix
tee, 重定向的同时输出到屏幕
awk ‘{print $0}’ xxx.log | tee test.log
检索相关
grep
# 反向匹配, 查找不包含xxx的内容 grep -v xxx # 排除所有空行 grep -v '^/pre> # 返回结果 2,则说明第二行是空行 grep -n “^$” 111.txt # 查询以abc开头的行 grep -n “^abc” 111.txt # 同时列出该词语出现在文章的第几行 grep 'xxx' -n xxx.log # 计算一下该字串出现的次数 grep 'xxx' -c xxx.log # 比对的时候,不计较大小写的不同 grep 'xxx' -i xxx.log
awk
# 以':' 为分隔符,如果第五域有user则输出该行 awk -F ':' '{if ($5 ~ /user/) print $0}' /etc/passwd # 统计单个文件中某个字符(串)(中文无效)出现的次数 awk -v RS='character' 'END {print --NR}' xxx.txt
find检索命令
# 在目录下找后缀是.mysql的文件 find /home/eagleye -name '*.mysql' -print # 会从 /usr 目录开始往下找,找最近3天之内存取过的文件。 find /usr -atime 3 –print # 会从 /usr 目录开始往下找,找最近5天之内修改过的文件。 find /usr -ctime 5 –print # 会从 /doc 目录开始往下找,找jacky 的、文件名开头是 j的文件。 find /doc -user jacky -name 'j*' –print # 会从 /doc 目录开始往下找,找寻文件名是 ja 开头或者 ma开头的文件。 find /doc \( -name 'ja*' -o- -name 'ma*' \) –print # 会从 /doc 目录开始往下找,找到凡是文件名结尾为 bak的文件,把它删除掉。-exec 选项是执行的意思,rm 是删除命令,{ } 表示文件名,“\;”是规定的命令结尾。 find /doc -name '*bak' -exec rm {} \;
网络相关
查看什么进程使用了该端口
lsof -i:port 获取本机ip地址 /sbin/ifconfig -a|grep inet|grep -v 127.0.0.1|grep -v inet6|awk '{print $2}'|tr -d "addr:" iptables # 查看iptables状态 service iptables status # 要封停一个ip iptables -I INPUT -s ***.***.***.*** -j DROP # 要解封一个IP,使用下面这条命令: iptables -D INPUT -s ***.***.***.*** -j DROP 备注: 参数-I是表示Insert(添加),-D表示Delete(删除)。后面跟的是规则,INPUT表示入站,***.***.***.***表示要封停的IP,DROP表示放弃连接。 #开启9090端口的访问 /sbin/iptables -I INPUT -p tcp --dport 9090 -j ACCEPT # 防火墙开启、关闭、重启 /etc/init.d/iptables status /etc/init.d/iptables start /etc/init.d/iptables stop /etc/init.d/iptables restart
nc命令, tcp调试利器
#给某一个endpoint发送TCP请求,就将data的内容发送到对端 nc 192.168.0.11 8000 < data.txt #nc可以当做服务器,监听某个端口号,把某一次请求的内容存储到received_data里 nc -l 8000 > received_data #上边只监听一次,如果多次可以加上-k参数 nc -lk 8000
tcpdump
# dump出本机12301端口的tcp包 tcpdump -i em1 tcp port 12301 -s 1500 -w abc.pcap 1 跟踪网络路由路径 # traceroute默认使用udp方式, 如果是-I则改成icmp方式 traceroute -I www.163.com # 从ttl第3跳跟踪 traceroute -M 3 www.163.com # 加上端口跟踪 traceroute -p 8080 192.168.10.11
ss
# 显示本地打开的所有端口 ss -l # 显示每个进程具体打开的socket ss -pl # 显示所有tcp socket ss -t -a # 显示所有的UDP Socekt ss -u -a # 显示所有已建立的SMTP连接 ss -o state established '( dport = :smtp or sport = :smtp )' # 显示所有已建立的HTTP连接 ss -o state established '( dport = :http or sport = :http )'
找出所有连接X服务器的进程
ss -x src /tmp/.X11-unix/*
列出当前socket统计信息
ss -s
解释:netstat是遍历/proc下面每个PID目录,ss直接读/proc/net下面的统计信息。所以ss执行的时候消耗资源以及消耗的时间都比netstat少很多
netstat
# 输出每个ip的连接数,以及总的各个状态的连接数 netstat -n | awk '/^tcp/ {n=split($(NF-1),array,":");if(n<=2)++S[array[(1)]];else++S[array[(4)]];++s[$NF];++N} END {for(a in S){printf("%-20s %s\n", a, S[a]);++I}printf("%-20s %s\n","TOTAL_IP",I);for(a in s) printf("%-20s %s\n",a, s[a]);printf("%-20s %s\n","TOTAL_LINK",N);}'
# 统计所有连接状态, # CLOSED:无连接是活动的或正在进行 # LISTEN:服务器在等待进入呼叫 # SYN_RECV:一个连接请求已经到达,等待确认 # SYN_SENT:应用已经开始,打开一个连接 # ESTABLISHED:正常数据传输状态 # FIN_WAIT1:应用说它已经完成 # FIN_WAIT2:另一边已同意释放 # ITMED_WAIT:等待所有分组死掉 # CLOSING:两边同时尝试关闭 # TIME_WAIT:主动关闭连接一端还没有等到另一端反馈期间的状态 # LAST_ACK:等待所有分组死掉 netstat -n | awk '/^tcp/ {++state[$NF]} END {for(key in state) print key,"\t",state[key]}' # 查找较多time_wait连接 netstat -n|grep TIME_WAIT|awk '{print $5}'|sort|uniq -c|sort -rn|head -n20
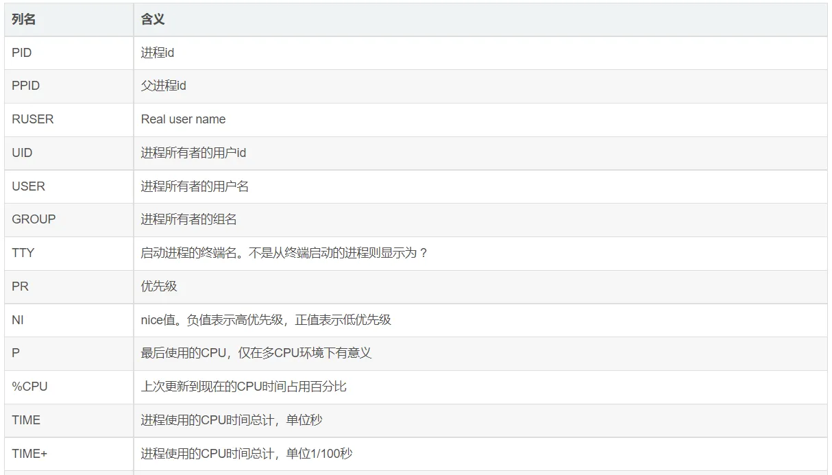
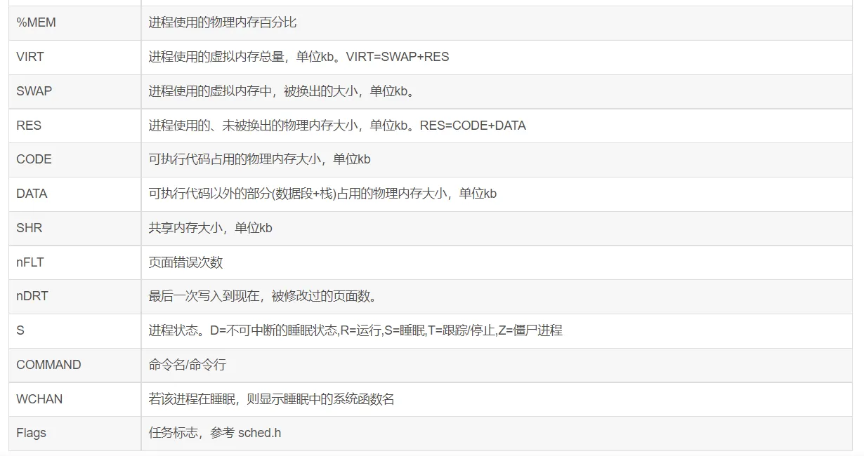
监控linux性能命令
top
按大写的 F 或 O 键,然后按 a-z 可以将进程按照相应的列进行排序, 然后回车。而大写的 R 键可以将当前的排序倒转
dmesg,查看系统日志
dmesg
iostat,磁盘IO情况监控
iostat -xz 1
# r/s, w/s, rkB/s, wkB/s:分别表示每秒读写次数和每秒读写数据量(千字节)。读写量过大,可能会引起性能问题。
# await:IO操作的平均等待时间,单位是毫秒。这是应用程序在和磁盘交互时,需要消耗的时间,包括IO等待和实际操作的耗时。如果这个数值过大,可能是硬件设备遇到了瓶颈或者出现故障。
# avgqu-sz:向设备发出的请求平均数量。如果这个数值大于1,可能是硬件设备已经饱和(部分前端硬件设备支持并行写入)。
# %util:设备利用率。这个数值表示设备的繁忙程度,经验值是如果超过60,可能会影响IO性能(可以参照IO操作平均等待时间)。如果到达100%,说明硬件设备已经饱和。
# 如果显示的是逻辑设备的数据,那么设备利用率不代表后端实际的硬件设备已经饱和。值得注意的是,即使IO性能不理想,也不一定意味这应用程序性能会不好,可以利用诸如预读取、写缓存等策略提升应用性能。
free,内存使用情况
free -m eg: total used free shared buffers cached Mem: 1002 769 232 0 62 421 -/+ buffers/cache: 286 715 Swap: 1153 0 1153
第一部分Mem行:
total 内存总数: 1002M
used 已经使用的内存数: 769M
free 空闲的内存数: 232M
shared 当前已经废弃不用,总是0
buffers Buffer 缓存内存数: 62M
cached Page 缓存内存数:421M
关系:total(1002M) = used(769M) + free(232M)
第二部分(-/+ buffers/cache):
(-buffers/cache) used内存数:286M (指的第一部分Mem行中的used – buffers – cached)
(+buffers/cache) free内存数: 715M (指的第一部分Mem行中的free + buffers + cached)
可见-buffers/cache反映的是被程序实实在在吃掉的内存,而+buffers/cache反映的是可以挪用的内存总数.
第三部分是指交换分区
sar,查看网络吞吐状态
# sar命令在这里可以查看网络设备的吞吐率。在排查性能问题时,可以通过网络设备的吞吐量,判断网络设备是否已经饱和 sar -n DEV 1 # # sar命令在这里用于查看TCP连接状态,其中包括: # active/s:每秒本地发起的TCP连接数,既通过connect调用创建的TCP连接; # passive/s:每秒远程发起的TCP连接数,即通过accept调用创建的TCP连接; # retrans/s:每秒TCP重传数量; # TCP连接数可以用来判断性能问题是否由于建立了过多的连接,进一步可以判断是主动发起的连接,还是被动接受的连接。TCP重传可能是因为网络环境恶劣,或者服务器压力过大导致丢包
sar -n TCP,ETCP 1
vmstat, 给定时间监控CPU使用率, 内存使用, 虚拟内存交互, IO读写
# 2表示每2秒采集一次状态信息, 1表示只采集一次(忽略既是一直采集)
vmstat 2 1
eg:
r b swpd free buff cache si so bi bo in cs us sy id wa 1 0 0 3499840 315836 3819660 0 0 0 1 2 0 0 0 100 0 0 0 0 3499584 315836 3819660 0 0 0 0 88 158 0 0 100 0 0 0 0 3499708 315836 3819660 0 0 0 2 86 162 0 0 100 0 0 0 0 3499708 315836 3819660 0 0 0 10 81 151 0 0 100 0 1 0 0 3499732 315836 3819660 0 0 0 2 83 154 0 0 100 0
- r 表示运行队列(就是说多少个进程真的分配到CPU),我测试的服务器目前CPU比较空闲,没什么程序在跑,当这个值超过了CPU数目,就会出现CPU瓶颈了。这个也和top的负载有关系,一般负载超过了3就比较高,超过了5就高,超过了10就不正常了,服务器的状态很危险。top的负载类似每秒的运行队列。如果运行队列过大,表示你的CPU很繁忙,一般会造成CPU使用率很高。
- b 表示阻塞的进程,这个不多说,进程阻塞,大家懂的。
- swpd 虚拟内存已使用的大小,如果大于0,表示你的机器物理内存不足了,如果不是程序内存泄露的原因,那么你该升级内存了或者把耗内存的任务迁移到其他机器。
- free 空闲的物理内存的大小,我的机器内存总共8G,剩余3415M。
- buff Linux/Unix系统是用来存储,目录里面有什么内容,权限等的缓存,我本机大概占用300多M
- cache cache直接用来记忆我们打开的文件,给文件做缓冲,我本机大概占用300多M(这里是Linux/Unix的聪明之处,把空闲的物理内存的一部分拿来做文件和目录的缓存,是为了提高 程序执行的性能,当程序使用内存时,buffer/cached会很快地被使用。)
- si 每秒从磁盘读入虚拟内存的大小,如果这个值大于0,表示物理内存不够用或者内存泄露了,要查找耗内存进程解决掉。我的机器内存充裕,一切正常。
- so 每秒虚拟内存写入磁盘的大小,如果这个值大于0,同上。
- bi 块设备每秒接收的块数量,这里的块设备是指系统上所有的磁盘和其他块设备,默认块大小是1024byte,我本机上没什么IO操作,所以一直是0,但是我曾在处理拷贝大量数据(2-3T)的机器上看过可以达到140000/s,磁盘写入速度差不多140M每秒
- bo 块设备每秒发送的块数量,例如我们读取文件,bo就要大于0。bi和bo一般都要接近0,不然就是IO过于频繁,需要调整。
- in 每秒CPU的中断次数,包括时间中断
- cs 每秒上下文切换次数,例如我们调用系统函数,就要进行上下文切换,线程的切换,也要进程上下文切换,这个值要越小越好,太大了,要考虑调低线程或者进程的数目,例如在apache和nginx这种web服务器中,我们一般做性能测试时会进行几千并发甚至几万并发的测试,选择web服务器的进程可以由进程或者线程的峰值一直下调,压测,直到cs到一个比较小的值,这个进程和线程数就是比较合适的值了。系统调用也是,每次调用系统函数,我们的代码就会进入内核空间,导致上下文切换,这个是很耗资源,也要尽量避免频繁调用系统函数。上下文切换次数过多表示你的CPU大部分浪费在上下文切换,导致CPU干正经事的时间少了,CPU没有充分利用,是不可取的。
- us 用户CPU时间,我曾经在一个做加密解密很频繁的服务器上,可以看到us接近100,r运行队列达到80(机器在做压力测试,性能表现不佳)。
- sy 系统CPU时间,如果太高,表示系统调用时间长,例如是IO操作频繁。
- id 空闲 CPU时间,一般来说,id + us + sy = 100,一般我认为id是空闲CPU使用率,us是用户CPU使用率,sy是系统CPU使用率。
- wt 等待IO CPU时间。

